MĚŘENÍ ELASTICKÝCH KONSTANT TENKÝCH VRSTEV METODOU LAW
R. Picek, P. Boháč
Fyzikální ústav AV ČR, Na
Slovance 2, 182 21 Praha 8
Abstract
One of possible applications of thin films is coating of contact loading components and tools for improving their surface properties. Mechanical features of films are crucial for their applicability in practice. They are partially characterized by elastic constants (Young modulus, Poisson ratio). Determination of these quantities through classical methods which are known from measurement of bulk materials is not possible. Therefore new ways of identifications of elastic constants has been developed. One of them is method LAW (laser acoustic waves) which elicits the constants from acoustic wave propagation. In this article principle of LAW is explained in simplified form. Conditions for applications and comparison with other methods are presented. The measurement of thin Si and SiC films deposited on silicon wafer by magnetron sputtering was carried out. Some problems and disadvantages of this method were discussed. Their feasible solution is outlined at the end of the article.
Keywords: Young's modulus; Surface acoustic waves; Non-destructive testing thin films; Laser acoustic method; Silicon films; Silicon-carbid films
Abstrakt
Jednou z možných aplikací tenkých vrstev v praxi je povlakování kontaktně namáhaných součástí a nástrojů pro zlepšení jejich povrchových vlastností. O vhodnosti použití konkrétní tenké vrstvy rozhodují její mechanické vlastnosti, charakterizované z části také elastickými konstantami (Youngův modul a Poissonovo číslo). Zjišťování těchto veličin klasickými metodami známými z měření kompaktních objemových vzorků však není možné. Pro stanovování elastických veličin v tenkých vrstvách proto vznikly nové metody. Jednou z perspektivních je tzv. metoda LAW (laser acoustic waves), založena na kalkulaci elastických konstant ze šíření povrchového akustického vlnění. V článku je tato metoda blíže charakterizována. Je vysvětlen její princip, jsou uvedeny podmínky jejího užití a je porovnána s některými dalšími metodami. Byla provedena měření na tenkých vrstvách amorfního křemíku (Si) a karbidu křemíku (SiC), nanesených magnetronovým naprašováním na substrát z křemíkového monokrystalu. Při praktickém užití se též ukázaly jisté problémy a nevýhody této metodiky měření. V závěru článku je nastíněno jejich možné řešení.
Klíčová slova: Youngův modul; Povrchové akustické vlnění; Nedestruktivní měření tenkých
vrstev; Laserová akustická metoda; Křemíkové vrstvy; Vrstvy karbidu křemíku
Úvod
Jako většina veličin charakterizujících daný materiál je i hodnota modulu pružnosti určena jeho vnitřní stavbou. Podle naměřených hodnot a díky znalosti velikostí elastických konstant kompaktního materiálu, lze usuzovat na vnitřní uspořádání materiálu tenké vrstvy. Např. v uhlíkových vrstvách se může Youngův modul pružnosti pohybovat v rozmezí hodnot 100 GPa až po 1000 GPa. Široký rozsah hodnot této veličiny je způsoben různými modifikacemi uhlíku, jež mohou být ve vrstvě zastoupeny v libovolném poměru. Ze znalosti složení, modulu pružnosti v tenké vrstvě a složek v kompaktním tvaru, které se v povlaku vyskytují, je možno ve vrstvě odhadnout jejich poměrné zastoupení.
Youngův modul a Poissonovo číslo charakterizují tuhost materiálu a patří k důležitým veličinám popisující mechanické vlastnosti tělesa. U látek, které obsahují kovalentní vazbu, tj. u většiny tvrdých povlaků, existuje přímá souvislost mezi hodnotou Youngova modulu a tvrdostí vrstvy, jež představuje jednu z nejdůležitějších veličin charakterizující povrch z hlediska tribologie.
Metoda, která by byla schopna rychle a věrohodně určit elastické vlastnosti tělesa, je velmi vhodná pro klasifikaci tenkých vrstev a umožňuje rychlejší a efektivnější hledání optimálních podmínek depozice vrstev. Jednou z těchto perspektivních metod je tzv. metoda LAW, kterou se zabývá tento článek.
Měření modulu pružnosti tenkých
vrstev
Zjišťování modulu pružnosti látek lze obecně rozdělit do dvou skupin. V první skupině se modul pružnosti materiálu vzorku obdrží z velikosti deformace vzorku při známém zatížení. Existuje mnoho konkrétních způsobů určování elastických konstant, lišících se od sebe buď tvarem použitého vzorku, nebo typem jeho zatížení. Některé z nich lze za určitých podmínek použít i ke stanovení modulu pružnosti v tenkých vrstvách, např.:
· měření průhybu mikronosníků, [1]
· měření průhybu desek při působení tlaku, tzv. "Bulge testing", [1]
· měření tvrdosti pomocí nanoindentoru, [1], [2], [3]
Druhá skupina metod, jež ve výzkumu tenkých vrstvech nachází širší uplatnění, je založena na měření kmitání vzorku či na měření akustického vlnění šířícího se v látce. Je-li známa hustota látky, pak lze modul pružnosti jednoznačně stanovit z frekvence jeho kmitání, či rychlosti šíření vlnění. Výčet některých metod založených na tomto principu:
· měření vlastní frekvence deponovaného vzorku, [4]
· měření Brillouniova rozptylu, [5], [6]
· měření povrchové akustické vlny, metoda LAW
Metoda LAW
Teoretický princip metody
Měřící metoda je založena na teorii šíření příčných akustických vln v rovinném povrchu poloprostoru kontinua, tzv. Rayleighovy vlny. U tohoto vlnění klesá jeho amplituda exponenciálně s rostoucí vzdálenosti od povrchu v závislosti na příslušné frekvenci vlnění [7]. Čím má šířící se vzruch vyšší frekvenci, tím je jeho dosah do hloubky materiálu menší. Pokud se jedná o izotropní látku, akustické vlny všech frekvencí se šíří stejnou fázovou rychlostí, která je aproximována vztahem
(1)
kde
je Poissonovo číslo,
Youngův modul a
hustota materiálu.
Jiná situace však nastává na povrchu povlakovaného tělesa, kde fázová rychlost závisí na elastických konstantách a hustotě obou materiálů a též na tloušťce vrstvy. Ve vrstvě se šíří povrchová vlna jinou rychlostí než v látce substrátu. Je-li vrstva dostatečně tenká, pak povrchové vlnění významně zasahuje i do substrátu a šíří se současně v obou materiálech. Hloubka penetrace vlnění, závislá na jeho frekvenci, určuje rozdělení intenzity vlnění mezi oběma prostředími a tím i rychlost jeho šíření. Čím je frekvence vzruchu vyšší, tím méně proniká do substrátu a rychlost povrchové vlny je tak méně jeho elastickými vlastnostmi ovlivněna a naopak. Z toho vyplývá, že šíří-li se např. v tenké vrstvě ultrazvukový signál rychleji než v substrátu, pak rychlost šíření vlnění se zvyšuje s jeho frekvencí. Tento jev, kdy je fázová rychlost vlnění závislá na frekvenci, je označován jako disperze vlnění [8], [9].

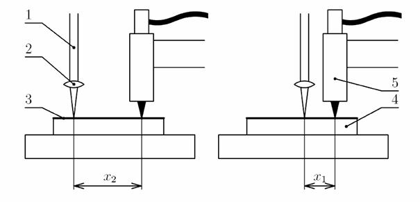
Obr 1: Zjednodušené schéma měřící aparatury LAW. 1 - laserový
paprsek, 2 - válcová čočka, 3 - tenká vrstva, 4 - substrát,
5 - piezometrický senzor.
Popis měření
Širokopásmové akustické vlnění je na povrchu vzorku vybuzeno termoelasticky
krátkým světelným pulzem dusíkového laseru (doba trvání pulsu 0,5 ns, energie
0,4 mJ, vlnová délka l=337
), jenž je zrcátkem
usměrněn a pomocí válcové čočky soustředěn do úsečky na povrchu vzorku. Krátké a intenzivní lokální ohřátí povrchu v místě dopadu
laserového paprsku vybudí ve vzorku ultrazvukové vlnění. Spektrum jeho fázové
rychlosti je ve známé vzdálenosti od místa buzení pomocí hrotem přitisknuté
piezoelektrické fólie snímáno a transformováno na elektrický signál, který je
pak dále vyhodnocován. Schéma měřícího uzlu laserovo-akustického zařízení (LAW)
je na Obr 1.
Pro zjištění disperzní křivky je třeba u každého vzorku provést alespoň dvě měření v různých vzdálenostech snímače od místa buzení. V praxi se jich však provádí více z důvodu statistického zpracování snímaných dat, což vede k potlačení rušivých signálů a k větší věrohodnosti získaných dat. Průběh disperzní křivky je určen ze vztahu
(2)
kde
a
představují dvě různé vzdáleností mezi dopadem laserového
paprsku a snímačem a
,
jsou fázové
posunutí vlnění dané frekvence f při
snímání v příslušných vzdálenostech
a
. Fázová charakteristika ultrazvuku
je získána
Fourierovou transformací detekovaného signálu. Hodnoty parametrů tenké vrstvy,
včetně elastických konstant, jsou vypočteny metodou nejmenších čtverců jako
minimum funkce
(3)
kde
je naměřená
rychlost šíření vlnění pro danou frekvenci
a
je pro dané
rychlost
teoreticky vypočítaná ze známých nebo volených parametrů.
,
,
jsou po řadě
Youngův modul, Poissonova konstanta a hustota substrátu. Nečárkované
proměnné obdobně charakterizují látku tenké vrstvy,
je tloušťka vrstvy.
Vzorek s nanesenou vrstvou musí, pro získání
věrohodných výsledků, splňovat některá kriteria. Je požadován rovinný tvar
vzorku o minimální velikosti 5 x 10 mm, tloušťka substrátu musí být
minimálně 0,5 mm pro monokrystal křemíku, 2mm pro jiné materiály. Drsnost zkoumaného
povrchu by neměla přesáhnout
. Materiál, jehož vlastnosti mají být zkoumány, musí
laserové záření absorbovat. Nejlepší výsledků se dosahuje u monokrystalických
substrátů vrstvy, v kterých dochází k malému rozptylu akustického vlnění.
Je-li podklad polykrystalický, je alespoň požadována jemnozrnná struktura.
Metoda LAW (Laser Acoustic Waves) je považována za perspektivní metodu testování tenkých vrstev. Tento princip byl již ověřován na vzorcích se známými elastickými vlastnostmi a byla nalezena dobrá shoda experimentů s očekávanými tabulkovými hodnotami [9], [10]. Tato metoda je proto v posuzování tenkých vrstev považována za věrohodnou a velmi perspektivní. V dnešní době jsou již na měření založeném na tomto principu vyvinuta moderní snadno ovladatelná zařízení. Jedno z nich je Laser-acoustic Thin Film Analyser IWS Dresden, na němž byla prováděna níže uvedená měření. V celkovém hodnocení nespornými výhodami této metody je především:
· nedestruktivní či jenom minimální poškození vzorku při experimentu, který tak může být podroben dalším zkouškám
· časová nenáročnost a jednoduchost měření
· měření i velmi tenkých vrstev (do 50 nm)
· oproti některým jiným metodám není potřeba příprava speciálních zkušebních vzorků
Při praktickém měření se však objevily i některé nevýhody, jež jsou spjaty s určitými problémy při určování výše uvedených parametrů vrstvy a substrátu. V následující kapitole budou i s dosavadními získanými výsledky tyto obtíže uvedeny a nastíněno jejich možné řešení.
Prováděná měření a získané výsledky
Měřené vzorky
Byla provedena měření na dvou různých
materiálech tenké vrstvy. U prvé sady vzorků byla tenká vrstva tvořena amorfním
křemíkem (a-Si), naprášeným při různých podmínkách depozice a následně různě
tepelně zpracovaných. V druhém souboru vzorků byl materiálem tenké vrstvy
karbid křemíku (SiC) různých koncentracích Si a s různým tepelným zpracováním.
V obou případech byl povlak deponován na destičku z monokrystalu křemíku,
jehož orientace krystalografické roviny byla (111). Vrstvy byly naneseny
magnetronovým naprašováním. Vzorky byly rovinné obdélníkového tvaru o velikostech
splňující výše uvedenou podmínku. Tloušťka substrátu byla
. Tloušťka povlaků byla měřena nezávisle na přístroji
ALPHA STEP 500 a pohybovala se v rozmezí cca
až
.

Obr 2: Ukázka jednoznačného proložení teoretické disper. křivky exper. daty. Fiting byl proveden v užším intervalu frekvenicí (100-155 MHz), v kterém byla hodnota relativní amplitudy vysoká. Vrstva Si. Legenda: MD - naměřená disperze, TD - teoretická disperze, AC - amplitudová charakteristika

Obr 3: Nejednoznačné proložení teoretické disper. křivky exper. daty. Fiting byl proveden v celém dostupném intervalu frekvenicí, neboť z amplitudové charakteristiky nelze užší rozsah jednoznačně určit. Vrstva Si-C. Legenda: MD, AC - viz. obr. 2, TD1, TD2 - různá proložení naměřené disperze, jako správné bylo vzato proložení TD2
Výsledky měření
U obou typů vzorků se při stanovování
vlastností vrstvy u mnoha měření ukázalo, že při pouhé změně parametrů
vrstvy se nedaří teoretickou disperzní křivku odpovídající naměřené nalézt.
Musely být proto zvoleny jako hledané i veličiny vztahující se k substrátu,
ačkoli se obecně předpokládalo, že látka substrátu a její mechanické
vlastnosti jsou známy a jsou pro každý vzorek stejné, dané tabulkovými
hodnotami. Jako další hledanou proměnnou podkladu byl zvolen Youngův modul.
Rozptyl této veličiny u substrátu se pohyboval v relativně malém
rozsahu, v intervalu 141.1-153.1 GPa.
Změna této veličiny řádově v procentech se však velmi silně, řádově v desítkách
procent, projevovala na určovaných hodnotách parametrů vrstvy, s tím že
tvar vypočítávané disperze zůstával prakticky nezměněn. Obecně lze konstatovat,
že při různých hodnotách veličin
, popsaných v (3) mohou mít závislosti
stejný průběh
nebo si alespoň být velmi podobné. Experimentální tvar disperzní křivky navíc
často nemá monotonní průběh, ale dochází k určitému "zašumění", dané
pravděpodobně rozptylem akustického vlnění, což znesnadňuje přiřazení správného
průběhu teoretické disperze k experimentálním datům. Nepříjemná je také,
již výše zmíněna, vysoká citlivost fitovaných parametrů vrstvy na
mechanicko-akustických vlastnostech substrátu. Dobré aproximace lze dosáhnout
volbou rozsahu frekvencí pro fitování disperzní křivky, což vyžaduje určité
zkušenosti obsluhy. V tomto případě však hodně o výběru vhodného intervalu
napovídá amplitudová charakteristika. Pro nejednoznačnost řešení může chyba,
způsobená chybnou interpretací a vyhodnocením získaných dat, dosáhnout
řádově až desítek procent. Pro názorný příklad jsou zde ukázány dvě rozdílná
měření (viz. obr. 2 a 3) Na prvém je proložení teoretické disperzní křivky
jednoznačné. Při více neznámých je ovšem i tak nalezení hodnot hledaných
veličin relativně obtížné, neboť, jak bylo zmíněno, existují takové kombinace
parametrů funkce (3), při kterých se tvary disperzí prakticky nemění. V druhém
případě na obr. 3 je situace navíc komplikována neurčitostí v přiřazení
správného tvaru teoretické disperze k naměřené díky složitosti jejího průběhu.
Bez předchozích zkušeností a znalostí některých vlastností vrstvy či substrátu nebo dalšího
nezávislého měření je přesné určení elastických vlastností vrstvy v některých
případech obtížné a nejednoznačné.
|
|
|
|
|
|
|
|
|
151.0 |
0.40 |
2.33 |
118.8 |
0.17 |
2.13 |
6.75 |
|
140.2 |
0.26 |
2.33 |
104.3 |
0.26 |
2.03 |
6.73 |
|
141.0 |
0.26 |
2.33 |
114.0 |
0.26 |
2.00 |
4.45 |
|
142.2 |
0.26 |
2.33 |
114.0 |
0.26 |
2.00 |
4.45 |
|
154.0 |
0.26 |
2.33 |
148.6 |
0.24 |
2.39 |
4.72 |
|
141.6 |
0.26 |
2.33 |
120.9 |
0.18 |
2.12 |
4.48 |
|
147.4 |
0.26 |
2.33 |
200.0 |
0.29 |
2.83 |
4.13 |
|
153.3 |
1.26 |
2.33 |
100.0 |
0.26 |
2.51 |
3.62 |
|
142.8 |
0.26 |
2.33 |
95.6 |
0.26 |
3.00 |
2.63 |
Tab.:
1 Hodnoty elastických a
mechanických veličin 9 vzorků a-Si-Si.
,
,
označují po řadě Youngův modul, Poisson. č. a hustotu
substrátu.
,
,
obdobně charakterizují tenkou vrstvu,
je tloušťka vrstvy
Vrstva a-Si
Hodnoty Youngova modulu jsou v rozmezí 95 - 200
GPa, Poissonovo číslo v intervalu 0,18 - 0,289 a hustota se pohybuje mezi 2 až
3
. Z naměřených dat nelze prokázat žádnou jednoduchou
vzájemnou závislost mezi jednotlivými veličinami. Výsledky měření jsou
znázorněny v tabulce 1 a grafu obr. 2.

Obr 4: Grafické znázornění výsledků měření
elasticko-mechanických vlastností tenkých a - Si vrstev
|
|
|
|
|
|
|
|
|
143.1 |
0.26 |
2.33 |
137.8 |
0.05 |
2.10 |
2.96 |
|
141.5 |
0.26 |
2.33 |
183.8 |
0.17 |
2.48 |
2.89 |
|
141.5 |
0.26 |
2.33 |
253.8 |
0.04 |
2.75 |
2.78 |
|
143.4 |
0.26 |
2.33 |
143.4 |
0.20 |
2.12 |
2.44 |
|
151.0 |
0.26 |
2.33 |
220.8 |
0.11 |
2.71 |
4.43 |
|
141.4 |
0.26 |
2.33 |
222.0 |
0.19 |
0.26 |
4.16 |
|
142.5 |
0.26 |
2.33 |
200.0 |
0.11 |
2.48 |
4.16 |
|
114.1 |
0.26 |
2.33 |
226.6 |
0.19 |
2.62 |
3.68 |
|
142.4 |
0.26 |
2.33 |
226.9 |
0.05 |
2.47 |
3.25 |
|
150.5 |
0.26 |
2.33 |
161.2 |
0.003 |
2.15 |
3.39 |
|
143.2 |
0.26 |
2.33 |
151.6 |
0.19 |
2.08 |
3.53 |
|
156.1 |
0.26 |
2.33 |
150.4 |
0.04 |
2.06 |
3.46 |
|
143.4 |
0.26 |
2.33 |
156.5 |
0.09 |
2.16 |
3.52 |
|
144.4 |
0.26 |
2.33 |
101.4 |
0.00 |
1.58 |
2.23 |
|
143.6 |
0.26 |
2.33 |
149.4 |
0.01 |
2.07 |
3.23 |
|
151.0 |
0.26 |
2.33 |
413.0 |
0.24 |
3.21 |
3.47 |
Tab.: 2 Hodnoty elastických a mechanických veličin 16 vzorků SiC-Si. Označení veličin viz. tab. 1
Vrstva a-SiC
U vrstev SiC byl zjištěn rozptyl měřených
veličin ještě vyšší než v prvním případě. Pro Youngův modul bylo zjištěno
rozmezí hodnot 137 - 413 GPa, pro Poissonovo číslo 0 - 0,2 a pro hustotu 1,58 -
3,21
. O pozorovatelné závislosti lze hovořit pouze mezi
hustotou a Youngovým modulem pružnosti. Vyšší hustotě odpovídá i vyšší tuhost
vrstvy. Číselné hodnoty jsou uvedeny v tab. 2 a graficky jsou výsledky znázorněny
v grafu obr. 4.

Obr 5: Grafické znázornění výsledků měření elasticko-mechanických vlastností tenkých SiC vrstev
Závěr
Měření elastických konstant pomocí LAW se jeví jako perspektivní metoda při určování mechanických vlastností tenkých vrstev. Tento způsob skýtá mnohé výhody oproti jiným postupům založeným na jiných principech, viz. kap. 0. Při konkrétním měření se však ukázaly i jisté nedostatky, zmíněné v kap. 0. Všechny uvedené obtíže mají při více neznámých parametrech vrstvy, popřípadě i substrátu, společnou příčinu v nejednoznačnosti řešení podle (3). Je proto vhodné použít další nezávislé metody zmíněných v kap. 0.
Pro správné přiřazení teoretické disperzní křivky experimentální je dále nutné hlouběji prozkoumat vliv hledaných veličin na její průběh. Pro jednoznačnost vyhodnocení je dále důležité nalézt mezi jednotlivými veličinami závislosti, při kterých se tvar disperzní křivky nemění. Z tohoto důvodu bude vypracován vlastní postup pro výpočet disperze. Algoritmus výpočtu je obecně známý a lze ho nalézt např. v [9].
Poděkování
Práce vznikla při řešení Výzkumného záměru č. AV0Z10100522.
Reference
1. M. Ohring. Material Science of Thin Films, volume Deposition & Structure. Academic Press, San Diego, 2002
I. Štěpánek, O. Bláhová a M. Kolega. Tenké vrstvy – vytváření a vlastnosti. Plzeň, 1994
2. S. Logothetidis, S. Kassavetis, C. Charitidis, Y. Panayiotatos, a A. Laskarakis. Nanoindentation studies of multilayer amorphous carbon films. Carbon 42, pages 1133 – 1136°, 2004.
3. S. Etienne, Z. Ayadi, M. Nivoit, a J. Montagnon. Elastic modulus determination of a thin layer. Materials Science & Engineering A 370, pages 181 - 185, 2004.
4. M. Levy, H.E. Bass, and R. Stern. Modern Acoustical techniques for the measurement of mechanical properties, volume 39. Academic Press, San Diego, 2001.
5. M.G. Beghi, A.C. Ferrari, C.E. Bottani, A.B. Libassi, K. Tanner, K.B.K. Teob a J. Robertson. Elastic constants and structural properties of nanometre-thick diamond-like carbon films. Diamond and Related Materials 11, pages 1062 - 1067, 2002.
6. I.A Viktorov. Rayleigh and Lamb waves. Plenum Press, New York, 1967.
7. P.M. Warren a R.N Thurston. Physical Acoustic, volume IX. Academic Press, New York, 1972.
8. D. Schneider and B. Schultrich. Elastic modulus: a suitable quantity for characterization of thin films. Surface & Coating Technology 98, pages 962 - 970, 1998.
9. D. Schneider, B. Schultrich, H.J. Scheibe, H. Ziegele, and M. Griepentrog. A laser-acoustic method for testing and classifying hard surface layers. Thin Solids Films 332, pages 157 - 163, 1998.